Photo de l

FISCHER

Jeu de fixations pour chauffe-eau, urinoir et lavabo

Fixations sanitaires.

CE
Versions
Livraison (5 à 10 jours)
depuis le réseau BLEU ROUGE
Quantité
-
+
155,50 € HT
Ajouter au panier
Descriptif détaillé

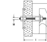
- Jeu de fixations pour chauffe-eau
- Fixations au travers de parois minces
- 2 plaquettes soudées à des tiges de 10 x 120
- 2 rondelles en acier
- 2 écrous 6 pans

Le kit de fixation fischer WDP contient tous les éléments pour la fixation sûre et rapide de lavabos et urinoirs dans les matériaux de construction en panneaux. Le manchon affleurant en nylon haute résistance, résistant au vieillissement et aux produits chimiques, assure une fixation durable sans endommager la céramique. Le kit se compose d'une plaquette, d'une tige filetée, d'un écrou à embase.

Dimensions: 10 x 120
Poids: 50 g

Toutes les versions
Caractéristiques
Poids unitaire (kg)
0,00

VOS ARTICLES VUS RECEMMENT

 
 
Jeu de fixations pour chauffe-eau, urinoir et lavabo
Armoire toilette 120 cm 3 portes Adesio
Vasque à encastrer par-dessus, 56 x 43 cm. BRIVE / VISA 2
Receveur céramique Prima d'angle ultra-plat, à encastrer, avec traitement Antigliss